Green Farming

 
 

Unterirdische Landwirtschaft: Nachhaltigkeit, Flächeneffizienz und Ernährungssicherheit in der Schweizer Landwirtschaft

Gefördert durch Innosuisse, Projekt Nr. 125.728 IP-LS

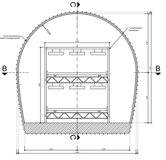
In der Schweiz gibt es zahlreiche ungenutzte unterirdische Flächen, die für den Anbau von Gemüse genutzt werden könnten. Eine Möglichkeit besteht darin, den Salatanbau mithilfe vertikaler Pflanzenkulturen in diese unterirdischen Bereiche zu verlagern. Der unterirdische Anbau ermöglicht und fördert auch die regionale Produktion von Salat in der Schweiz, selbst im Winter. Zu den Herausforderungen zählen dabei die klimatischen Verhältnisse, die Luftzirkulation und der CO2-Gehalt. Das Projekt greift die Vorgaben des Bundes zur Nutzung unterirdischer Räume auf und integriert diese Strategie. Darüber hinaus bietet das Projekt die seltene Gelegenheit, erworbenes Know-how im Bereich der Agrartechnologie zu exportieren, was für die Schweizer Landwirtschaft von besonderer Bedeutung ist. Ziel dieses Projekts ist die Entwicklung eines skalierbaren Prototyps als Modelllösung für den Anbau von Salat, rotem Eichblattsalat und Triosalat. Die optimalen Parameter für den Anbau von hochwertigem Salat werden experimentell in der Klimakammer der ZHAW ermittelt und durch einen grossräumigen Prototyp an der VSH verifiziert. Neben den technischen Aspekten wird die Wirtschaftlichkeit der Lösung ein zentrales Thema der Entwicklungen sein.
 

Machbarkeitsstudie

Forschungspartner

Versuchsstollen Hagerbach - Forschung - Innovation - Baustoffprüfung - Eventlokale Ostschweiz - Teamanlässe - Teambuilding Spiele - Gruppenausflug Schweiz - Firmenausflug - Betriebsausflug Ideen Schweiz - Eventräume - Seminarraum mieten - Mottoparty Ideen - Firmenevent Ideen - Hochzeitslocation Ostschweiz - Hochzeitslocation Schweiz - Weihnachtsfeier Firma - Catering Optionen Hagerbach - Eigenes Catering VersuchsStollen - Prüflabor - Baustoffprüflabor Ostschweiz - Mineralische Baustoffe - Betonprüfung - Asphaltprüfung - Rissbildung - Bauteilprüfung - Statik - Ingenieurbau - Materialprüfung - Qualitätskontrolle - Sicherheit - Infrastruktur - Underground testing facility - Test gallery Hagerbach - Research - Innovation - Material testing lab - Civil engineering - Event location Switzerland - Corporate team events - Team building activities - Group excursions - Wedding venue Switzerland - Seminar rooms - Business events - Christmas party ideas - Catering options - Laboratory services - Accredited testing lab - Structural testing - Concrete testing - Asphalt testing - Component testing - Safety assessments - Educational tours - Experimental tunnel Hagerbach - Innovation projects - Event space rental - Hagerbach Test Gallery

ZHAW

Hagerbach Test Gallery

Industriepartner

Forster Gruppe AG

Amberg Engineering

Versuchsstollen Hagerbach - Forschung - Innovation - Baustoffprüfung - Eventlokale Ostschweiz - Teamanlässe - Teambuilding Spiele - Gruppenausflug Schweiz - Firmenausflug - Betriebsausflug Ideen Schweiz - Eventräume - Seminarraum mieten - Mottoparty Ideen - Firmenevent Ideen - Hochzeitslocation Ostschweiz - Hochzeitslocation Schweiz - Weihnachtsfeier Firma - Catering Optionen Hagerbach - Eigenes Catering VersuchsStollen - Prüflabor - Baustoffprüflabor Ostschweiz - Mineralische Baustoffe - Betonprüfung - Asphaltprüfung - Rissbildung - Bauteilprüfung - Statik - Ingenieurbau - Materialprüfung - Qualitätskontrolle - Sicherheit - Infrastruktur - Underground testing facility - Test gallery Hagerbach - Research - Innovation - Material testing lab - Civil engineering - Event location Switzerland - Corporate team events - Team building activities - Group excursions - Wedding venue Switzerland - Seminar rooms - Business events - Christmas party ideas - Catering options - Laboratory services - Accredited testing lab - Structural testing - Concrete testing - Asphalt testing - Component testing - Safety assessments - Educational tours - Experimental tunnel Hagerbach - Innovation projects - Event space rental - Hagerbach Test Gallery

SCAUT

Wir freuen uns, Ihr Projekt auszuführen

Kontakt